立即注册找回密码

QQ登录

只需一步,快速开始

微信登录

微信扫一扫,快速登录

搜索
小桔灯网 门户 资讯中心 精准医疗 查看内容

10美元的基因组测序还有多远?

2023-10-23 17:17| 编辑: 沙糖桔| 查看: 3837| 评论: 0|来源: 我是建设者 | 作者: lizimo

摘要: NGS作为测序的主流技术,在准确率和成本等方面不断发展

NGS作为测序的主流技术,在准确率和成本等方面不断发展,推动了过去二十年中测序在科研和临床方面的广泛应用。

纵观历史,NGS发展大概可以分为三个阶段:2005年前各个公司和技术的萌芽发展阶段,2005-2015年这十年间的百花齐放百家争鸣,直到2015年后以边合成边测序(SBS)和光学成像为底层技术的Illumina一家独大。

2005-2015年那个测序技术高速发展的时代,有诸如焦磷酸测序、ABI SOLiD技术、Helicos连接测序、ion torrent半导体电化学测序等诸多技术平台。但随着Illumina2006年收购Solexa,推动SBS的开发完善,并通过不断推出新机器带来了商业化的成功,最终使得SBS成为了NGS的主流技术。

关于到底是谁发明了SBS测序,众说纷纭。虽然剑桥大学的Shankar Balasubramanian(香卡·巴拉苏布拉马尼亚安)和 David Klenerman(戴维·克伦纳曼)两位教授被更多地认为发明了SBS测序,但可以确定的是,SBS测序的这一想法和概念提出早在他们创立Solexa之前就有了,甚至比他们1997年那个夏天在剑桥的 Panton Arms酒吧里构想DNA测序技术还要早几年。

SBS测序的灵感或多或少是来源于Sanger测序法(桑格因此获得1980年诺贝尔化学奖,这是他继1958年后第二次获得诺贝尔化学奖),通过阻断核苷酸的连续掺入来实现信号的解码。公开媒体上有很多人认为是巴斯德研究所的Bruno Canard Simon Sarfati两人最先提出了SBS的设想,体现在了其专利WO1994023064中。

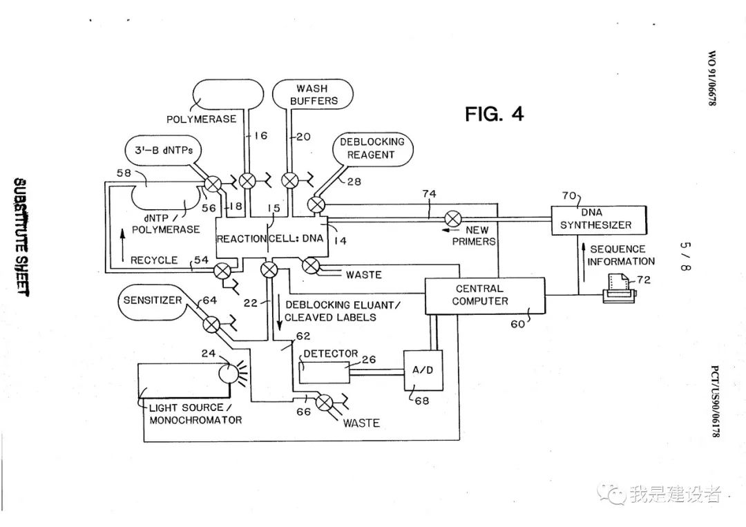
最早提出并申请了SBS专利的是诺贝尔化学奖获得者华人科学家钱永健(Roger Y Tsien)先生(2008年他因发现和研究改造了绿色荧光蛋白而获奖)。钱先生和其他同事一起在提交的专利WO9106678中提出了进行DNA测序的一系列策略,将SBS使用自动化仪器概念化,提出用报告基团保护 dNTP 3'-OH,这样可以使用固定化 DNA 模板,通过聚合酶逐个碱基逐步掺入。从专利附图也可以看出这个测序的思路跟现在的二代测序系统十分相似。而这一专利的优先权日(19891026日)比巴斯德同行的专利(1993326日)早了三年半。

2016年钱先生去世时,Nature Methods杂志上(doi.org/10.1038/nmeth.4044)对钱先生的介绍如下,Concepts and inventions attributable to Roger include sequencing by synthesis, fast two-photon scanning,…” 这是对钱先生对边合成边测序的贡献的直接认可。当然钱先生后续并没有把精力放在实现SBS上,这一专利在之后不久就被放弃了。但钱先生的这一概念提出无疑是为SBS技术提供了一个可行的方向,说他发明了SBS也一点也不为过。

随着人类基因组计划的实施和草图的逐渐完成,科学界对于更快更便宜更大通量测序仪的追求也是空前绝后。

1995 年,回到剑桥大学开始自己独立实验室的香卡·巴拉苏布拉马尼亚安教授通过福斯特共振能量转移 (FRET) 阐明了在聚合酶上DNA 合成过程中 DNA 的结构特性。为了找到时间分辨荧光光谱实验所需的激光器,他认识了物理化学家和激光光谱学专家戴维·克伦纳曼。两人合作完成了实验随后并发表了工作,更重要的是,两人公开讨论了想法,两人对单分子荧光生物物理学产生了兴趣,开始共同构想了一些项目。这标志着一段已被证明在科学上具有重要意义的关系的开始。1995年,两人联合提出了BBSRC的第一个研究资助提案,希望建立一个单分子荧光系统来探索 DNA 聚合酶的基本特性。

20 世纪 90 年代中期,两人使用单分子荧光光谱开始探索 DNA 聚合酶如何进行模板引导的 DNA 合成。他们尝试了各种形式,包括游离在溶液中、固定在微球或玻璃表面上的模板。最终他们采用了全内反射单分子显微镜装置,通过 FRET 荧光团对附着在聚合酶和 DNA 上,或者在固定的DNA 分子延伸过程中掺入荧光标记的脱氧核苷三磷酸。而后,他们看到了 Richard Keller 的一篇论文,这描述了一个诱人的概念,即通过在聚合酶合成过程中首先对ATCG进行差异标记,然后使用核酸酶从一端系统性地降解 DNA,可以对单个 DNA 分子进行测序。虽然这个概念对于实践来说似乎有很大挑战,但它激发了两位教授开始思考是否可以解码 DNA。而事实上,他们惊讶地发现,通过观察聚合酶掺入的单个核苷酸(以预先存在的 DNA拷贝为模板),在某种意义上他们就是在解码 DNA 的模板链。在Panton Arms 酒吧进行的一系列讨论中,他们开始构思调整实验方法,引入 DNA 碱基的四色编码,从而在每个循环期间通过荧光团来标记给定碱基的掺入进行解码。但该方案需要对聚合酶逐步掺入标记核苷酸进行绝对的化学控制,因此需要进行很多的化学开发与创新,就如这篇文章所总结的。(参考http://dx.doi.org/10.1016/j.bmc.2014.05.016

1998 年初,两位教授参观了威康信托桑格研究所。在那里,在约翰·苏尔斯顿 (John Sulston) 的指导下,作为国际人类基因组计划的一部分,人们付出了巨大的努力使用最先进的毛细管测序仪和桑格测序来解码第一个人类基因组。他们在桑格研究所的一个小茶室里见到了该项目的三位领导者:大卫·本特利 (David Bentley)、理查德·德宾 (Richard Durbin) 和简·罗杰斯 (Jane Rogers)。在讨论中,他们了解到了国际人类基因组计划的规模和实施挑战。桑格研究所的东道主们对他俩要创建一种新的 DNA 测序方法表示支持,确信这样的发明将是有用的后,两位教授全心全意地开始推动这个项目的研究。利用他们在有机和物理化学方面的专业知识进行了初步的概念验证实验,并从一家名为 Abingworth Management 的大胆风险投资公司筹集了初始资金,在 1998 年夏天他们创建了一家名为“Solexa”的公司,作为调动资源和跨学科专业知识(包括化学家、分子生物学家、物理学家、工程师和生物信息学)的工具,以充分将这一想法以商业系统的形式付诸实践。但在接下来的两年里,他们都是在位于 Lensfield Road 的大学化学实验室完成了证明其合理性所需的概念验证工作。从概念验证到实现技术的产品化并不是一蹴而就的,直到2006 年,Solexa 才推出了第一台采用这种方法的仪器,并交付给基因组中心以供早期采用。 2007 1 月,该系统在一次实验中对人类 DNA 10 亿个碱基进行了准确测序,实现了两位教授在1997 年设定的理想目标。Illumina 在当月晚些时候收购了 Solexa,该方法随后在 Illumina 内部得到了持续的创新和改进。再后来的故事,相信大家也都能接得上了。

讲到SolexaSBS测序化学开发,就不得不提到香卡教授的博士后Liu Xiaohai博士,是他合成了叠氮亚甲基的可逆阻断dNTP,他的工作体现在了US7785796B2等专利中这正是Illumina与华大智造的专利诉讼中的核心专利Liu在后续的20多年一直在Illumina从事化学合成方向的工作。从叠氮亚甲基到Illumina下一代革新的XLEAP化学,他都是关键贡献者。

同样也值得一提,叠氮基团和有机膦的施陶丁格反应是非常古老的化学反应,连接到亚甲基并保护糖环上羟基也并非Solexa最早使用,而是由几位俄国化学家先合成出来,其最终目的是探索核苷酸在抗病毒方面的应用,这与80年代用阻断的核苷酸(如AZT)治疗艾滋病取得的成功有重大关系,核苷酸类抗反转录病毒药物的成功促进了更多有机化学家进行更多的糖环上的修饰工作。(科学总是一环扣一环,前人栽树后人乘凉,我们很庆幸可以站在巨人的肩膀上。)

Solexa起初集中在单分子荧光测序开发上,整个体系非常脆弱。幸运地是,在2004年公司通过并购Manteia获得了桥式扩增技术,经过扩增信号强度增加,并提高了信噪比同时降低了对光学系统的要求,使得稳定的测序成为可能。桥式扩增技术由Pascal MayerLaurent Farinelli1996年底发明,PCT专利在1997年申请,目前专利已过期。

可以说,SBS最终在Solexa团队的化学家们手里变成了现实,他们开发了多项关键技术,当然3’-blocked dNTPDNA 聚合酶、桥式扩增这三个方面的技术支撑最为关键,加上当时已经相对成熟的光学成像技术,结合工程化的能力,Solexa最终跻身了下一代测序的竞争行列。而Illumina并购之后在此基础上的持续改进更是值得赞扬,持之以恒的创新、产品化和商业化最终打造了当今的测序霸主。

为何SBS+光学成像能够脱颖而出?这里可能有两个原因:其一,聚合反应的效率远高于连接酶催化的连接反应,使得Complete Genomics (以下简称CG)的cPALABISOLiD相形见绌。其二,荧光通过聚合连接至表面而固定,再通过光学采集分辨四种碱基,因为待检测基团是固定的,给检测无限的扩展性,进而在通量上有无限的扩展性,这确是454ion torrent这些平台所无法比拟的优势。结合芯片表面扩增和单位面积通量的提高,光学成像和SBS成为了最佳组合。

提到CG公司和cPAL技术,不得不让人想到2019年至2022年间IlluminaCG/华大智造之间的专利大战。最终Illumina输掉了专利官司,这要感谢CG和其创始人Radoje (Rade) DrmanacRade基于杂交法发明了cPAL(combinatorial probe-anchor ligation),结合滚环扩增的DNB,这构成了CG最核心的两个底层技术。在2009Rade/CG申请了专利US8617811B2,其权利要求的第一条如下图,可以看出使用双色编码四种碱基的二进制思想得到体现,不过整个专利都是在cPAL的测序方法上实现的,但是在权利要求中创造性使用了sequencing-by-extension的描述,这就成功包含了ligationpolymerization反应,即便专利里没有任何SBS的字眼也将SBS包含在内。这招可谓是精妙(jiǎo huá)。

华大在收购CG之后对其专利做了整体的梳理,因为有部分专利在收购后放弃了权利(停止付费),但是双色测序这个专利,虽然以当时的时间点并不确定有多大的价值,但还是被保留了,这里不得不佩服华大的智慧和眼光。再后面的故事大家都清楚了,收购CG后,华大将cPAL变称了cPAS,发布BGI500MGI2000T7、公司成功上市、G99T20等等。

专利战失利后,Illumina的运气似乎也用光了,在Grail收购上损兵折将、背腹刺挠。而成功上市之后,华大智造得来天时地利,国内市场隐隐有压制Illumina的趋势,国际市场也不断开花。这也给其他致力于测序仪国产化创新的企业很多勇气和动力。

随着2015年后SBS+光学成像路线的全面胜出、2022Illumina核心专利过期以及与华大智造专利纠纷的落定,一些测序新势力纷纷浮出水面,包括美国的ElementSingularUltima,国内的真迈、赛陆、赛纳等等。这些公司技术实现形式上或有区别,但不管是华大智造的CoolMPSElement的亲和力测序还是Pacbio/OnsoSBB,其测序本质都需要用阻断不带荧光的dNTP一个循环一个碱基的延伸,无非把原来的共价键荧光换成了其他弱相互作用连接的识别方式,最终还是要synthesis实现测序。测序化学这么多年来没有太大创新,最终的技术路线还是延续了SBS+光学成像的组合。

从第一个人类基因组图谱花费13年的时间和超过5亿美元,到今年有些公司声称100美元的人基因组测序,测序工具的壁垒已经多次被突破。从巨头垄断到百花齐放,从海外进口到全面国产取代,测序仪的生产制造已经不再是受制于人的高不可攀的领域,底层测序技术和专利再也不是限制因素。

都说,生物学的最终出路都是在数学、物理和化学。单位成本的下降还是建立在规模经济之上。对于赛陆、芯像这些国内新生代测序力量来说,这可能是更多思考的出发点,也可能是逐渐进入竞争主舞台的关键点。

一方面,SBS测序化学还能不能持续改进,反应更快,效率更高,稳定性更强,不同模块之间的工程化还能怎么优化?另一方面,提高测序芯片的信号密度是降低测序成本的重要手段之一,芯片/信号点的密度显然还是有空间去提升的,但信号密度不断增加,可能会超出相机或光学器件的检测极限。于是如何突破光学衍射极限,来实现高密度信号点的准确识别就变成了突破点。这就像IlluminaNovaSeq X华大智造在T20上纷纷使用高分辨率物镜Pacbio收购Apton获得超分辨率光学成像解决方案等例子阐述的一样。之前的文章也描述过,发展迅猛的赛陆医疗也是抓住了光学创新作为切入点,从专利上也可以看出已经进行了超分辨荧光成像的布局。不管是巨头还是新生代,这一点上殊途同归,光学最终将成为下一代SBS测序开发的最大限制和突破点。

1989年钱先生的第一个SBS专利算起,NGS已走过了30余载。自人类基因组草图发布以来,测序也已经从工具走向全面应用。行业滚滚向前,下个10年会是什么样子?NGS将要走到什么方向?会出现10美元的基因组吗?届时还有哪些新应用的大门被推开?

这无疑都将成为我们共同的期待。

声明:
1、凡本网注明“来源:小桔灯网”的所有作品,均为本网合法拥有版权或有权使用的作品,转载需联系授权。
2、凡本网注明“来源:XXX(非小桔灯网)”的作品,均转载自其它媒体,转载目的在于传递更多信息,并不代表本网赞同其观点和对其真实性负责。其版权归原作者所有,如有侵权请联系删除。
3、所有再转载者需自行获得原作者授权并注明来源。

最新评论

关闭

官方推荐 上一条 /3 下一条

客服中心 搜索 官方QQ群 洽谈合作
返回顶部