一地发文--基因测序仪加快进口替代
2021-5-31 15:10|
编辑: 沙糖桔|
查看: 2183|
评论: 0|来源: 赛柏蓝器械
摘要: 进口替代,已经延伸到高端设备。1多款医疗器械,被限制进口近几十年来,得益于国家政策支持、医疗费用增长和国产替代化趋势,我国医疗器械行业发展迅速。尤其是近两年来,国家到地方纷纷明确发文限制进口设备,支持 ...
多款医疗器械,被限制进口 近几十年来,得益于国家政策支持、医疗费用增长和国产替代化趋势,我国医疗器械行业发展迅速。尤其是近两年来,国家到地方纷纷明确发文限制进口设备,支持国产化替代,国内医疗器械企业已经处在了发展黄金期。国家政策方面,从2017年十三五规划提出:“开发一批进口依赖度高、临床需求迫切的高端、主流医疗器械和适宜基层的智能化、移动化、网络化产品,推出一批基于国产创新医疗器械产品的应用解决方案”。再到今年十四五规划要求,在2023年打造成国家制造业高地,打通创新链产业链堵点和难点,实现医疗装备自主研发,为健康中国提供关键保障,医疗领域国产化的程度和高度都在不断提升。地方政策方面,今年广东卫健委发布的《2021年省级卫生健康机构进口产品目录清单的公示》,明确可采购进口的医疗设备数量仅46种,相比于2019年132种,大幅削减近三分之二。此前,浙江省也发文要求数十种医疗设备移出进口清单,明确支持国产优先。这一系列的动作,无一不表明:国产医疗设备进院得到支持,进口替代正在加速推进。而从细分领域来看,低端设备和试剂国产化程度较高,国外的品牌占有率较低。替代率程度最高的低值耗材,国产占比已达到90%。而IVD及高值耗材领域的进口替代仍处于进行时状态,这也成为未来我国国产集中发力的关键。基因测序仪,国产崛起
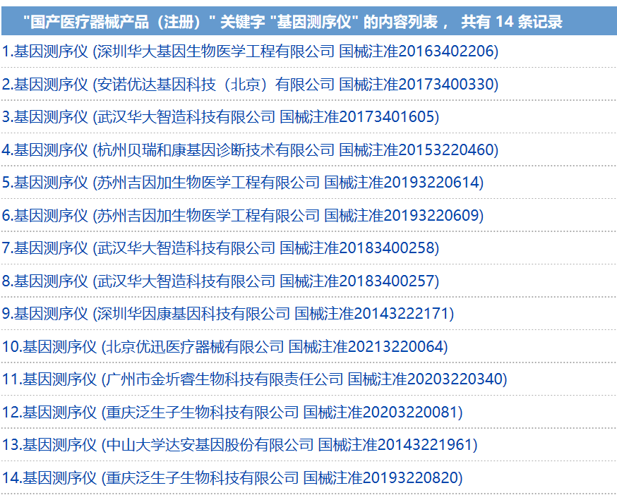
对比近几年来广东省发布的进口产品目录清单可以发现,今年减少的86种医疗器械设备里,包括基因测序仪,释放出基因检测领域有望加快实现进口替代的信号。基因测序仪主要通过对血液或唾液的分析进行基因全序列的测定,来预测罹患疾病的种类及可能性、解释个体行为特征及行为合理性以及其他研究,筛选出个人病变基因,对于提前预防和临床治疗意义重大。因此,近年来国家加大了对相关产业研发的政策支持,同时鼓励更多企业向上游仪器端布局。如此前国家科技部办公厅发布的《“十三五”医疗器械科技创新专项规划》要求重点开发POCT检测、新型基因测序仪、随检全自动核酸检测系统等系统。今年发布的“十四五”规划中也明确要求,要打好关键核心技术攻坚战,发展包括人工智能、生命健康、脑科学等医疗前沿领域,医药和医疗设备等领域的关键核心技术,在第四章第二节还把发展基因与生物技术作为重点单独列出来。 在这样强有力的政策支持下,虽然面临成本高、技术难度达、技术人员不足等困境,国内仍然有一批基因测序仪制造商逐渐崛起,并占据一定的市场份额。在我国药监局网站上查询显示,目前注册在案的国产基因测序仪共有14款,其中来自华大智造的产品最多,共有4款产品。
加速进口替代,仍需多方发力
基因检测在临床上的应用已经覆盖早期筛查、疾病诊断、精准用药、精细研发、精确随访等多个场景,正在逐步替代传统的检测。我国自2000年开始研究基因研究和测序技术,随着多年来的不断研发和新一代信息技术发展,基因检测技术越来越得到业内的认可。但从企业的产品布局来看,除了华大智造是国内唯一一家可自主研发并量产临床级高通量基因测序仪之外,大多数企业主要采用贴牌通过贴牌和合作研发的方式,对上游仪器和试剂供应商依赖严重,这或许也是至今仍有不少地方支持采购进口设备的原因。以四川为例,其进口设备清单在今年不降反增,相比于2018-2019年仅有44种进口设备可采购,今年的清单中,明确指出59种进口医疗设备可采购进口产品,基因测序仪也在其新增品种中。反观近两年来,国产基因测序仪的技术与性能日臻成熟,华大智造等企业自研的测序仪实现了技术迭代和出口海外。在这种情况下,基因测序仪出现在四川新增采购名单上,且理由是国产设备“稳定性、便利性、准确度等不及进口设备”,背后原因值得思考。由此可见,即使近期广东发文,全力支持基因测序仪进口替代,但在外资品牌占据绝大部分市场的情况下,这一品类完成全方位国产替代仍然需要时间。不过,这对于医疗器械企业来说未尝也不是一个提醒:在未来发展中,企业在前期的合作引进、合作研发之后,仍需在自主研发上持续发力,打破核心技术被“卡脖子”的局面,从而增强自身的核心竞争力,打通国产化产业生态链。另一方面,也要根据各地政策,积极应对未来发展。
|
声明:
1、凡本网注明“来源:小桔灯网”的所有作品,均为本网合法拥有版权或有权使用的作品,转载需联系授权。
2、凡本网注明“来源:XXX(非小桔灯网)”的作品,均转载自其它媒体,转载目的在于传递更多信息,并不代表本网赞同其观点和对其真实性负责。其版权归原作者所有,如有侵权请联系删除。
3、所有再转载者需自行获得原作者授权并注明来源。