立即注册找回密码

QQ登录

只需一步,快速开始

微信登录

微信扫一扫,快速登录

搜索

图文播报

查看: 216|回复: 0

2026年4月7日 星期二【桔说新闻】

[复制链接]
发表于 2026-4-7 11:17 | 显示全部楼层 |阅读模式

登陆有奖并可浏览互动!

您需要 登录 才可以下载或查看,没有账号?立即注册 微信登录

×
01 迈克,112项IVD产品获认证!
4月1日,迈克生物公告称,公司112项产品于近日获得欧盟公告机构TÜV南德意志大中华集团签发的IVDRCE认证。

此次获批产品包括97项化学发光试剂产品及15项质控品,涵盖甲状腺、肿瘤标志物、传染病、激素及自身免疫等多个检测领域,有效期均为2026年3月30日至2029年8月18日。此次认证将为公司产品进入欧盟市场提供必要条件,预计将提升公司在海外市场的竞争力,并对未来经营产生积极影响。
向上滑动阅览
640?wx_fmt=png&from=appmsg#imgIndex=2
来源 :迈克生物

2e3fb30e-f909-4b44-aa6a-86f87e3c349b.png


02 品峰起诉利德曼!
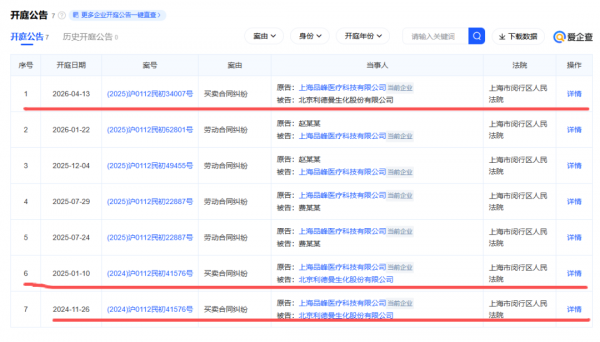
4月3日消息,爱企查数据显示,近日公布了一则北京利德曼生化股份有限公司作为被告/被上诉人的开庭公告,案号为(2025)沪0112民初34007号,案由为买卖合同纠纷,审理法院为上海市闵行区人民法院,当事人方面,原告/上诉人为上海品峰医疗科技有限公司,被告/被上诉人为北京利德曼生化股份有限公司,开庭时间为2026年04月13日14:00。
640?wx_fmt=png&from=appmsg#imgIndex=4

查询发现,品峰和利德曼之间,在2024年11月、2025年1月,也分别以买卖合同纠纷开庭。
来源:IVD资讯整理自爱企查

fda5131e-275e-4a2a-8cc9-fe937a0bcadd.png


03 艾迪康与九州通器械集团达成战略合作,共筑基层医检新生态!
近日,艾迪康与九州通医疗器械集团正式签署战略合作框架协议,建立为期3年的长期稳定合作关系。艾迪康执行董事王乐刚等核心管理层,九州通医药集团副董事长龚翼华等领导共同出席签约仪式,并就合作方向等展开交流、达成共识。
640?wx_fmt=png&from=appmsg#imgIndex=6

根据协议,双方将围绕区域检验中心共建等三大核心领域深度协作,遴选合作方时互为首选并提供资源支持,下沉合作重心至基层,提升基层医疗检验服务能力。

艾迪康将凭借自身优势,为合作项目输出全周期整体化解决方案及专业服务能力,与九州通供应链优势深度结合。九州通医疗器械集团位列行业销售规模第一梯队,母公司九州通医药集团是行业标杆。双方领导表示,此次合作是精准对接,将打造全新模式,让优质医检技术和高效器械供应服务下沉基层,推动基层医学实验室全面进化,为健康中国建设贡献力量。
来源:艾迪康

d5ed1698-f518-4a9e-aba8-89f95f8d09bd.png


04 复星医药,首席财务官变更!
2026年4月2日,上海复星医药公告CFO变更。经提名审议,聘任黄智为高级副总裁、首席财务官,任期至本届董事会届满,其任命获相关委员会审核通过。同时,陈战宇因工作调整辞去CFO职务,生效日同为4月2日,辞任后他继续担任公司高级副总裁。
640?wx_fmt=png&from=appmsg#imgIndex=8

黄智拥有跨国药企丰富财务管理经验,曾在诺华、百济神州、亚盛医药等多家知名药企任职。复星医药称此次变更不影响公司正常运营,董事会感谢陈战宇任职期间的贡献。业内人士认为,黄智的国际财务管理经验,将助力复星医药优化财务战略与管控体系,推动业务高质量发展。
来源:复星医药公告

93298077-294a-4ba8-a9fa-f8338eb80dc0.png


05 40亿融资!雅培入局可穿戴医疗公司
2026年4月1日,可穿戴健康公司Whoop完成约5.75亿美元融资,估值达约101亿美元,医疗器械巨头雅培及美国大型医疗机构等参与投资。
640?wx_fmt=png&from=appmsg#imgIndex=10

Whoop最初聚焦运动人群,后从单一运动监测向健康管理延伸,商业模式转为“硬件 + 订阅”。雅培在连续血糖监测领域优势明显,此次投资Whoop,旨在从单一传感器走向数据平台。

当前,可穿戴健康设备向连续多模态演进,Whoop处于该阶段,但部分功能依赖外部整合,数据临床价值等有待验证。此次投资存在诸多不确定性,更多是雅培在新型健康数据平台方向的前期布局。
来源:思宇MedTech
b72efb10-da2e-4a44-b10e-9711ead40819.png
回复

使用道具 举报

发表回复

您需要登录后才可以回帖 登录 | 立即注册 微信登录

本版积分规则

关闭

官方推荐 上一条 /3 下一条

快速回复 返回列表 客服中心 搜索 洽谈合作
快速回复返回顶部 返回列表